2023-11-04 16:23来源:admin作者:第六下载网
微软目前面向 Win10、Win11 系统发布的更新,固然修复了此前版本中的诸多问题,但也可能会触发新的 BUG,因此用户可以通过回滚操作,恢复到此前版本中。

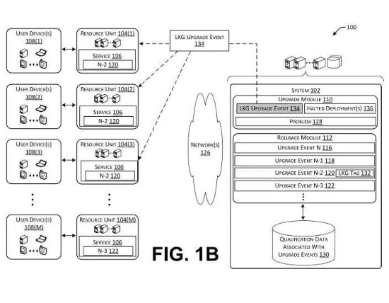
而根据美国商标和专利局(USPTO)公示的最新清单,微软公司获得了一项新的技术专利,概述了涉及 Windows 更新的云端回滚机制,可以自动恢复到此前正常运行的时间点上,从而改善用户升级体验。
该云端回滚系统可以配置云端的资源配置,回滚到“最后已知良好”的升级版本,从而改善用户体验。

这意味着系统会重新配置相关云端资源,在收到用户反馈之后更快地回滚到此前版本,降低不良升级对用户体验的影响。
该云端回滚系统会从基于云端的不同计算机收集性能数据,以确定导致操作系统崩溃的问题,为当前已部署或正在部署的一系列升级事件中的每个升级事件收集此数据。
系统会持续跟踪和分析为每个已部署的升级事件收集的资格数据,当收集的资格数据满足预定义的资格之后,就会执行回滚。
免责声明:文章图片应用自网络,如有侵权请联系删除
热门推荐
更多