2023-10-30 12:14来源:admin作者:第六下载网
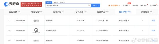
天眼查App显示,近日,华为技术有限公司申请注册“遥遥领先”商标,国际分类为运输工具、科学仪器,当前商标状态为等待实质审查。
前段时间,因为Mate60系列手机的发售,“遥遥领先”已经成为了一个出圈的存在,只要说到这四个词,网友首先想到的便是华为。
免责声明:文章图片应用自网络,如有侵权请联系删除
上一篇:联想新款拯救者游戏本曝光:RTX 4090/i9-14900HX
下一篇:《LOL》BLG击败G2进入八强 LPL四支队伍全部晋级
热门推荐
极限特技摩托车
极限平衡球3 轮船版
被遗弃的星球 手机版
安迪与莉莉的棺材 汉化版2025
少女乐团派对官方版
探险终章
雪屋温泉旅馆 安卓版汉化版
云顶之弈tft普通版
明日方舟终末地四号谷地规划推荐,四号谷地产线如何规划
001-21
明日方舟终末地,帝江号区域功能解析与玩法指南
明日方舟终末地武陵景玉谷宝箱醚质,全收集攻略详解
明日方舟终末地火队配置策略,如何搭配火队
明日方舟终末地武陵城宝箱醚质收集攻略,全面领跑指南
进击的汉字唐僧下西洋通关攻略
19202-22
文字脑洞炕上麻将通关攻略介绍
19102-22
哈利波特魔法觉醒致命狩猎94层打法分享
18902-22
文字脑洞怀旧弹珠通关攻略解析
18802-22
阴阳师彷徨猎场爬塔阵容推荐
18702-22